TELEPHONE-UNIT
D Types


Each items number is also the drawing number.

Telephone-Unit D92732
Used on Telephone No. 746
On later boards T19A, T19b and T2A are only fitted if required by a circuit diagram
Drawing - 92773
Circuit diagram - SA 10116

Original circuit board
 

Note modified circuit board with terminal cut outs unused
Capacitor C1 has also been removed - probably used on Plug and Socket variant
 

SBM variant - note the simplified rectifier element and lack of capacitors
 

Mark 1
 

Mark 3




Mark 4


Telephone-Unit D92744 (Mark 1)
Used on Telephone No. 722


 


Telephone-Unit D93039 (Mark 1)
 


Telephone-Unit D93044
Used on Bellset No. 49A
Mark 3 has additional Terminal 19A.

 


Telephone-Unit D93050
Used on Telephone No. 1/722
Drawing - 93050

 

 


Telephone-Unit D93089
Used on Telephone No. 4252
Circuit Board has additional terminal 19A.


 


Telephone-Unit 1/D93315
Used on Bellset No. 50A & 50C
This board was also miniaturised later in production - probably as a cost saving exercise.
Drawing - 93315

Telephone-Unit 2/D93315
Used on Bellset No. 50B & 50D
Drawing - 93315


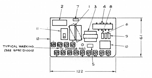
Telephone-Unit D93458 (Mark 1)
Used on Telephone No. 776
Drawing - 93458

 


Telephone-Unit D93937
Used on Telephone No. 782 Mark 1


 


Telephone-Unit D93883
Used on Telephone No. 782 Marks 2, 3 and 4

 


Telephone-Unit D94224
Used on Telephone No. 746C

This circuit board has additional terminals 19A and 19B
and also used a Micro-Circuit D4529
Circuit diagram SA 10219

 


Telephone-Unit D95204
Use on Telephone No. 756

Mark 1
This is a modified Telephone-Unit D92732 Mark 1.


Mark 2


Mark 4
This is a modified Telephone-Unit D92732 Mark 4.

 

 
BACK Home page BT/GPO Telephones Search the Site Glossary of Telecom Terminology Quick Find All Telephone Systems

Last revised: September 02, 2025

FM